
工作原理及特点
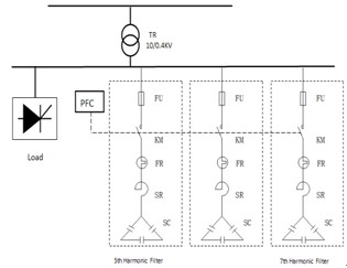
谐波滤波器采用并联方式接入电网,滤波回路由电容器和电抗器串联组成,电路根据需要补偿的功率因数、谐波成分和谐波含量设计。通过对电抗器的电感值选择,使滤波器在谐波频率下产生串联谐振而形成对某次谐波的低阻抗电路,让大部分的谐波电流流入谐波滤波器。
典型的谐波滤波器回路包含三种最为常见的谐波(5次、7次、11次)频率。谐波滤波器装在由钢板制成的柜壳内,每台滤波器包括电磁接触器、热继电器、电抗器、电容器和控制部分构成,通常谐波滤波器与主配电柜经容电器的馈线相连接。
采用特殊材料和设计的滤波电容器、滤波电抗器使滤波效果显著。
结构紧凑,操作简便,具备安全的保护措施。
同时解决谐波危害与无功补偿问题。
提高输电、用电效率,节省电费。
谐波的危害:
增加线路损耗,降低发电、输电设备效率
导致电机振动、噪声、发热
导致电子设备的控制系统失控
导致开关和继电设备的不正常跳闸
导致补偿电容发热和使用寿命缩短
主要器件:
功率因数控制器
专用滤波电容器
滤波电抗器
电磁接触器
负荷隔离开关
二次控制回路/温控器
热继电器
散热风扇
金属柜体
设计依据
配电系统的谐波阶次及主要谐波含量
滤波器拉入点的电压畸变率
系统所需的无功补偿容量
变压器参数
注:我公司可提供谐波量测服务,并提供完整的滤波设计方案。


技术参数:
额定电压:220V~690V
频 率:50Hz / 60Hz
调谐阶次:3、5、7、11等(也可根据客户需要设计其它阶次)
额定容量:60-500kvAr
投切方式:接触器
环境温度:-20℃~+45℃
冷却方式:自然冷却及强制冷却
进线方式:上进线或下进线
连接方式:电缆连接或铜排连接
安装位置:室内安装
防护等级:IP40
颜 色:RAL7035(其它颜色可定制)
制造标准:IEC60831、IEC60289/VDE0532
