
工作原理
高压谐波滤波器由电容器、滤波电抗器串联组合而成,在基波频率(50HZ)时向电网提供无功电流以补偿功率因数,而根据滤波器的谐振频率设定的电抗器,与串联电容器形成串联电路,让滤波器在谐波频率下形成低阻抗回路,使谐波电流流入滤波器中。

产品特点
滤波电容器采用单相聚丙烯薄膜做电介质的全膜电容器,内部充满不含氯化联苯的绝缘油,具有低损耗、高稳定性和寿命长的特点。
滤波电容器内附熔丝,该熔丝设计可承受额定的过电压和过电流、电容器投切时的暂态电流、电容器内部其他故障导致的短路电流或串联电容器组保护间隙动作造成的瞬时过电压及过电流
成套装置能在1.1倍额定电压下长期运行,在1.15倍额定电压下每24h中运行 30min,在1.2倍额定电压下每月中运行2次每次2min,在1.3倍额定电压下每月中运行2次每次1min;
成套装置能在有效值为1.3倍额定电流下连续运行;
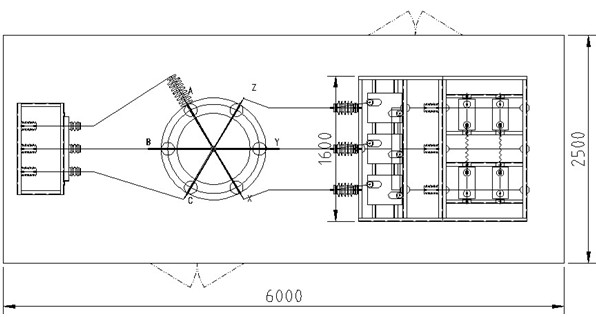
采用单星形谐波滤波器,H13以上采用高通滤波器;
本装置采用高压真空接触器作为投切开关,具有分断能力强,无电弧重燃等特点,真空接触器的触头由特殊材料制成,特别适合开断容性电流,操作寿命长(达10万次以上)。
采用高压喷逐式熔断器作为电容器外部短路保护,确保设备安会运行
放电线圈直接与电容器并联使用,电容器从电网断开后,在5S内将电容器端子间的电压降至50V以下,放电线圈还可为并联电容器提供二次保护信号;
本装置采用综合保护装置进行保护,主要有:限时速断、过流、过压、失压、中性点不平衡电流保护,
高压滤波器主要结构
铁芯电抗器+电容器,适用于室内开放式安装或柜体内安装,在系统电压相对较低(35KV以下),补偿容量相对较小时使用较多;
空气芯电抗器+电容器,适用于室外安装,系统电压相对较高,补偿容量相对较大时使用较多。
设计滤波器的依据
系统电压数据及电压波动范围
供电系统电气主接线图
无功补偿功率数据
谐波负荷数据(负荷名称、额定容量)
谐波电流(常态运行数据及尖峰值)
谐波允许值(客户允许值或国标GB/T14549-93)
上一级供电网路的短路电流及短路容量
滤波器的安装环境及绝缘水平要求
户外安装图

